- 20 м
- 14 м
- 58.98 м³/час
- 40.2 м³/час



Фекальный насос IBO BIG 1500, предлагаемый компанией АкваБрег, оснащен двухканальным рабочим колесом, что позволяет эффективно перекачивать жидкости с присутствием во взвешенном состоянии коротковолокнистых твердых частиц размерами до 50 мм. При мощности 1500 Вт этот дренажный насос обладает производительностью 40.2 м3/час и имеет прекрасные напорные характеристики, достигающие 14 метров. Комплектация включает в себя поплавковый выключатель и кабель длиной 10 метров. Вы можете приобрести фекальный насос IBO BIG 1500 в нашем магазине АкваБрег или оформить заявку прямо на нашем сайте.
Графические характеристики фекального насоса IBO BIG 1500
 
  Выбор экспертов, и вот почему:
Насос IBO BIG 1500 с двухканальной конструкцией крыльчатки предлагает преимущества в обработке загрязненных жидкостей, поскольку такая конструкция обеспечивает более эффективное перемещение и преодоление частиц и отходов, чем насосы с одноканальной крыльчаткой. Это особенно полезно при работе с фекальными скоплениями и другими сильно загрязненными жидкостями.
Поплавковый выключатель играет важную роль в автоматическом управлении работы насоса. Он регулирует уровень жидкости, при котором насос начинает и прекращает работу. Это позволяет предотвратить переполнение и перегрузку насоса, а также обеспечивает более удобную и автоматическую эксплуатацию системы перекачки.
В целом, насос IBO BIG 1500 представляет собой надежное и эффективное решение для перекачки загрязненных жидкостей в больших объемах и с большой производительностью. Однако, перед покупкой и установкой такого насоса, рекомендуется проконсультироваться с профессиональными специалистами, чтобы убедиться, что система будет соответствовать требованиям и безопасности вашего конкретного применения.
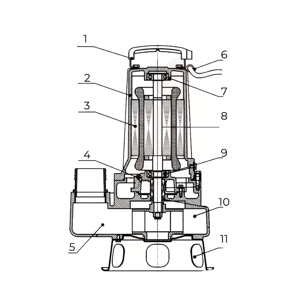
Схема фекального насоса IBO BIG 1500
Купить фекальный насос IBO BIG 1500 в Мозыре
Благодарим вас за выбор нашей компании, АкваБрег! Мы рады предложить вам два удобных варианта получения вашего заказа. Первый вариант - самовывоз из нашего магазина. Вы можете лично прийти к нам и забрать товар в удобное для вас время. На адресе и рабочих часах нашего магазина можно ознакомиться на нашем веб-сайте. Пожалуйста, выберите удобное для вас время для самовывоза. Если вам удобнее воспользоваться доставкой, мы с удовольствием отправим ваш заказ по указанному вами адресу. Мы стремимся обеспечить быструю и надежную доставку, согласно нашему графику доставки. При оформлении заказа, пожалуйста, укажите адрес доставки, и мы доставим товар в кратчайшие сроки. Что касается оплаты, вы можете выбрать наиболее удобный для вас способ. Мы принимаем как безналичные платежи, так и наличные. При оформлении заказа вы сможете выбрать оптимальный для вас вариант оплаты.
Доставка курьером в город Мозырь
Доставка осуществляется на следующий день после оформления заказа.В день доставки до 13:00 с Вами связывается оператор компании перевозчика и уточняет время доставки.
- Время работы с 10:30 до 23:00
Стоимость
Цена доставки товара зависит от его веса и габаритов. Доставки в город Мозырь осуществляться согласно графика. Стоимость и график поставки вы можете уточнить у оператора call-центра. Также стоимость доставки вы можете самостоятельно рассчитать в карточке товара. Мозырь
 
																									 
																																	 
																																	 
																																	 
																																	 
																																	 
																																	 
																																	 
																																	 
																																	 
																																	 
																																	 
																																	 
																																	 
																																	 
																									 
																																	 
																																	 
																																	 
																																	 
																																	 
																																	 
																									 
																																	 
																																	 
																																	 
																																	 
																																	 
																									 
																																	 
																																	 
																																	 
																																	 
																																	 
																																	 
																																	 
																																	 
																																	 
																																	 
																																	 
																																	 
																																	 
																																	 
																																	 
																																	 
																																	 
																																	 
																																	 
																																	 
																																	 
																																	 
																									 
																																	 
																																	 
																																	 
																																	 
																																	 
																																	 
																									 
																																	 
																																	 
																																	 
																																	 
																																	 
																																	 
																																	 
																																	 
																									 
																																	 
																																	 
																																	 
																																	 
																																	 
																																	 
																									 
																																	 
																																	 
																																	 
																																	 
																									 
																																	 
																																	 
																																	 
																																	 
																																	 
																																	 
																																	 
																																	 
																																	 
																																	 
																																	 
																																	 
																																	 
																																	 
																																	 
																									 
																																	 
																																	 
																																	 
                                                                     
                                                                     
                                                                     
                                                                     
                         
                         
                         
                         
                                                