Фекальный насос IBO CTR 750
Графические характеристики
Фекальный насос IBO CTR 750 - это погружной чугунный насос с внешним измельчителем, поплавковым выключателем и блоком аварийного отключения. Он идеально подходит для использования в септиках средних подсобных домохозяйств. Этот насос имеет превосходные технические характеристики, включая максимальный напор насоса в 14 метров и производительность 21 м3/час. Чугунный корпус насоса эффективно справляется с теплонаведением. Вы можете приобрести фекальный насос IBO CTR 750 с режущим элементом в компании АкваБрег - одном из наших надежных продавцов. Также вы можете оформить заявку прямо на нашем сайте. Если у вас возникли вопросы или трудности с выбором насоса, наши специалисты всегда готовы оказать вам профессиональную консультацию.
Графические характеристики фекального насоса IBO CTR 750
Выбор экспертов, и вот почему:
Представленный насос представляет собой типичный моноблочный агрегат, состоящий из гидравлической части и электродвигателя. Электродвигатель, который является однофазным асинхронным, расположен в закрытом от попадания жидкости кожухе. Это важно для защиты от воздействия жидкости на электрические компоненты и предотвращения возможных аварийных ситуаций.
Насос также оснащен пусковым конденсатором, который помогает обеспечить пуск электродвигателя и его нормальную работу. Рукоятка, установленная в верхней части кожуха, предназначена для удобства переноски и подвешивания насоса.
Основным элементом насоса является рабочее колесо, закрепленное на конце вала электродвигателя. Во время работы насоса, жидкость подается в насосную часть через всасывающие отверстия на дне. Для предотвращения блокирования рабочего колеса волокнистыми включениями, вал двигателя оснащен вращающимся ножом, который их измельчает.
Центробежная сила, создаваемая рабочим колесом, отбрасывает жидкость к стенкам насосной части, а затем направляет ее в напорный патрубок с резьбой. На этом патрубке устанавливается штуцер для присоединения шланга, что позволяет перекачивать жидкость в нужном направлении.Наличие поплавкового выключателя является важной функцией автоматического включения и отключения насоса при изменении уровня перекачиваемой жидкости. Это позволяет предотвратить повреждение насоса или перелив жидкости в случае переполнения.
Также стоит отметить наличие блока аварийного отключения в разрыве силового кабеля. Это дополнительное устройство безопасности, которое может сработать в случае аварийной ситуации, обеспечивая быстрое отключение питания насоса и предотвращая возможные риски и повреждения. Общее впечатление от описания насоса указывает на его хорошую конструкцию и функциональность. Комбинация различных элементов и механизмов позволяет эффективно перекачивать жидкость, защищать электрические компоненты от воздействия жидкости и обеспечивать безопасную эксплуатацию.
Схема фекального насоса IBO CTR 750
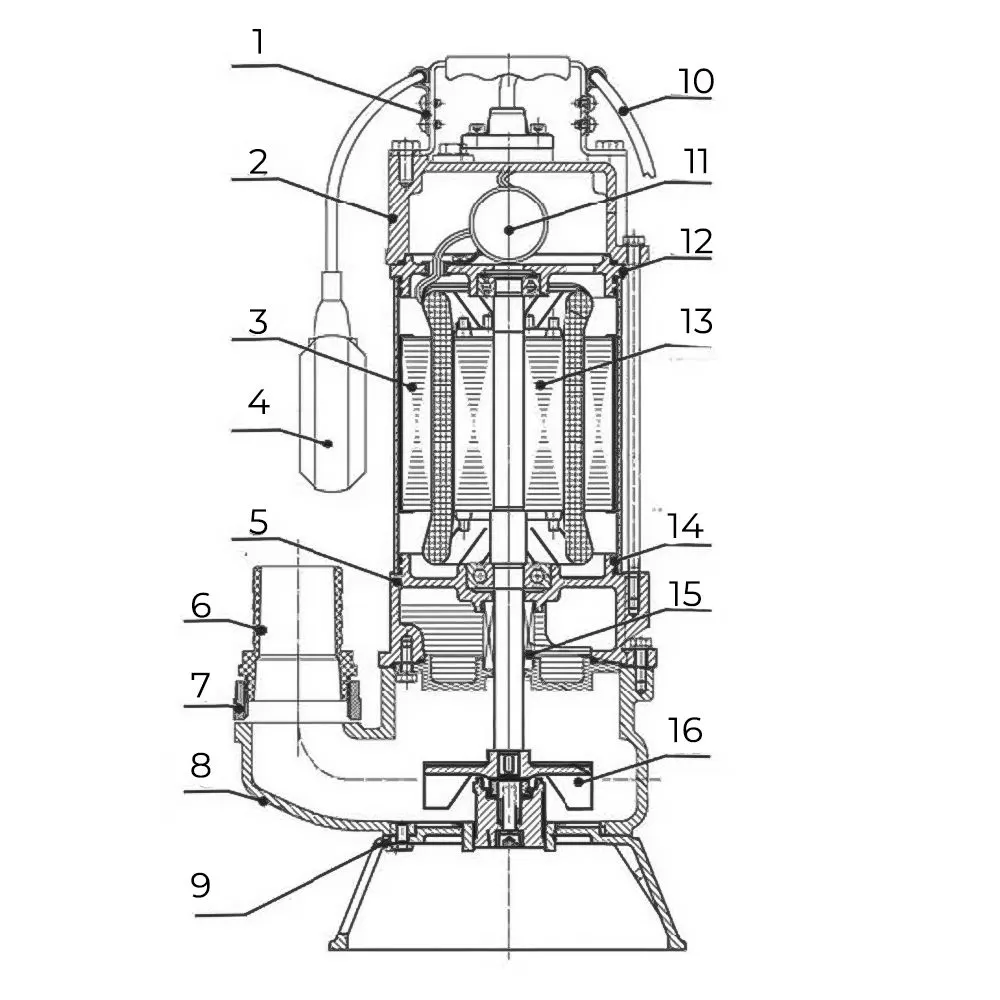
- ручка для переноски
- верхняя крышка опора
- корпус электродвигателя
- поплавковый выключатель
- нижняя опора подшипника
- штуцер для присоединения шланга
- фланец для присоединения штуцера
- корпус насосной части
- опора насоса
- силовой кабель
- конденсатор
- верхняя опора подшипника
- ротор
- промежуточный корпус
- торцевое уплотнения вала
- крыльчатка
Купить фекальный насос IBO CTR 750 в Мозыре
Благодарим вас за интерес к услугам компании АкваБрег! Мы хотели бы предложить вам два удобных варианта получения вашего заказа. Первый вариант - самовывоз из нашего магазина. Вы можете прийти к нам лично и забрать товар в удобное для вас время. Адрес нашего магазина и рабочие часы указаны на нашем веб-сайте. Пожалуйста, ознакомьтесь с информацией о нашем магазине и выберите удобное для вас время для самовывоза. Если вам удобнее воспользоваться доставкой, мы с радостью отправим ваш заказ по указанному вами адресу. Мы стремимся обеспечить быструю и надежную доставку в соответствии с нашим графиком доставки. При оформлении заказа, пожалуйста, укажите адрес доставки, и мы доставим товар в кратчайшие сроки. Что касается оплаты, вы можете выбрать наиболее удобный для вас способ. Мы принимаем как безналичные платежи, так и наличные. Вы сможете выбрать оптимальный способ оплаты при оформлении заказа.
Доставка курьером в город Мозырь
Доставка осуществляется на следующий день после оформления заказа.В день доставки до 13:00 с Вами связывается оператор компании перевозчика и уточняет время доставки.
- Время работы с 10:30 до 23:00
Стоимость
Цена доставки товара зависит от его веса и габаритов. Доставки в город Мозырь осуществляться согласно графика. Стоимость и график поставки вы можете уточнить у оператора call-центра. Также стоимость доставки вы можете самостоятельно рассчитать в карточке товара. Мозырь



