







Фекальный насос Magnum 2500 без поплавка (230V) IBO представляет собой погружной насос из серии MAGNUM, предназначенный для водоотведения. Он имеет мощность 250 Вт и работает от сети с напряжением 220 В и силой тока 3 А. Насос обладает максимальным напором 9 м и максимальным расходом 8.1 м³/час. Диаметр разъема соединения составляет 1½", а пропускная способность насоса для частиц равна 35 мм. Он предназначен для перекачивания грязной воды при температуре от 1 до 35 градусов Цельсия. Корпус насоса выполнен из чугуна, а крыльчатка также изготовлена из чугуна. Насос не имеет встроенного измельчителя и защиты от сухого хода. Он обладает высотой 360 мм, шириной 230 мм и весом 6 кг. Длина кабеля составляет 10 метров. Режим работы насоса - S1 (непрерывная работа). Частота тока, которую он поддерживает, равна 50 Гц.
Графические характеристики фекального насоса IBO MAGNUM 2500 без поплавка
 
  почему стоит приобрести насос IBO MAGNUM 2500 без поплавка
Насос представляет собой моноблочный агрегат, состоящий из гидравлической части и электродвигателя. Электродвигатель является однофазным асинхронным и оснащен пусковым конденсатором. Он размещен в закрытом от попадания жидкости кожухе, что обеспечивает безопасность и защиту от возможных повреждений. Корпус насоса имеет рукоятку в верхней части кожуха, предназначенную для удобной переноски и подвешивания насоса. Это удобно при его транспортировке или перемещении на месте использования.
Рабочее колесо насоса закреплено на конце вала электродвигателя. Во время работы насоса, жидкость поступает в насосную часть через всасывающие отверстия, расположенные на дне насоса. Для предотвращения блокирования рабочего колеса волокнистыми включениями, на валу двигателя закреплен вращающийся нож, который измельчает эти включения. Центробежная сила, создаваемая вращающимся колесом, отбрасывает жидкость к стенкам насосной части, откуда она направляется в напорный патрубок с резьбой. На патрубке устанавливается штуцер для присоединения шланга, что позволяет направить перекачиваемую жидкость в нужном направлении.
В случае разрыва силового кабеля присутствует блок аварийного отключения, который, вероятно, обеспечивает безопасное отключение электродвигателя от питания. Это важная функция для предотвращения возможных аварийных ситуаций или повреждений. В целом, описанный насос представляет собой функциональное и безопасное устройство для перекачивания жидкостей
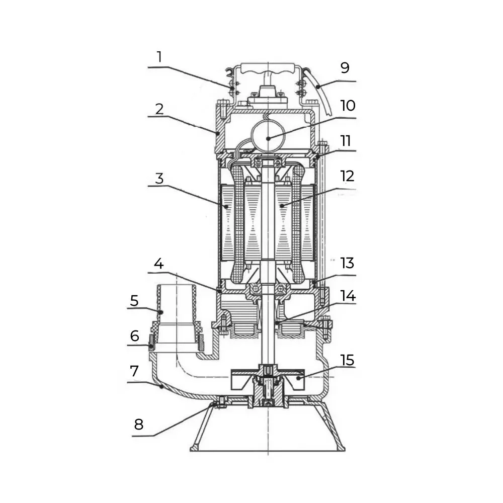
Схема фекального насоса IBO MAGNUM 2500 без поплавка
- ручка для переноски
- верхняя крышка опора
- корпус электродвигателя
- поплавковый выключатель
- нижняя опора подшипника
- штуцер для присоединения шланга
- фланец для присоединения штуцера
- корпус насосной части
- опора насоса
- силовой кабель
- конденсатор
- верхняя опора подшипника
- ротор
- промежуточный корпус
- торцевое уплотнения вала
- крыльчатка
Купить фекальный насос IBO MAGNUM 2500 без поплавка в Мозыре
Благодарим вас за интерес к нашей компании АкваБрег и предлагаем вам два удобных варианта получения вашего заказа. Первый вариант - самовывоз из нашего магазина. Вы можете лично прийти к нам и забрать товар в удобное для вас время. Наши адрес и рабочие часы указаны на нашем веб-сайте. Пожалуйста, ознакомьтесь с информацией о нашем магазине и выберите удобное для вас время для самовывоза. Если вам удобнее воспользоваться доставкой, мы с радостью отправим ваш заказ по указанному вами адресу. Мы стремимся обеспечить быструю и надежную доставку в соответствии с нашим графиком доставки. При оформлении заказа, пожалуйста, укажите адрес доставки, и мы доставим товар в кратчайшие сроки.
Что касается оплаты, вы можете выбрать наиболее удобный для вас способ. Мы принимаем как безналичные платежи, так и наличные. При оформлении заказа, укажите предпочитаемый способ оплаты, и мы предоставим вам соответствующую информацию. Если у вас возникнут дополнительные вопросы или вам потребуется помощь, пожалуйста, не стесняйтесь обратиться к нам. Мы с удовольствием поможем вам с вашим заказом и обеспечим наилучший сервис.
Доставка курьером в город Мозырь
Доставка осуществляется на следующий день после оформления заказа.В день доставки до 13:00 с Вами связывается оператор компании перевозчика и уточняет время доставки.
- Время работы с 10:30 до 23:00
Стоимость
Цена доставки товара зависит от его веса и габаритов. Доставки в город Мозырь осуществляться согласно графика. Стоимость и график поставки вы можете уточнить у оператора call-центра. Также стоимость доставки вы можете самостоятельно рассчитать в карточке товара. Мозырь
 
																									 
																																	 
																																	 
																																	 
																																	 
																																	 
																																	 
																																	 
																																	 
																																	 
																																	 
																																	 
																																	 
																																	 
																																	 
																									 
																																	 
																																	 
																																	 
																																	 
																																	 
																																	 
																									 
																																	 
																																	 
																																	 
																																	 
																																	 
																									 
																																	 
																																	 
																																	 
																																	 
																																	 
																																	 
																																	 
																																	 
																																	 
																																	 
																																	 
																																	 
																																	 
																																	 
																																	 
																																	 
																																	 
																																	 
																																	 
																																	 
																																	 
																																	 
																									 
																																	 
																																	 
																																	 
																																	 
																																	 
																																	 
																									 
																																	 
																																	 
																																	 
																																	 
																																	 
																																	 
																																	 
																																	 
																									 
																																	 
																																	 
																																	 
																																	 
																																	 
																																	 
																									 
																																	 
																																	 
																																	 
																																	 
																									 
																																	 
																																	 
																																	 
																																	 
																																	 
																																	 
																																	 
																																	 
																																	 
																																	 
																																	 
																																	 
																																	 
																																	 
																																	 
																									 
																																	 
																																	 
																																	 
                                                                     
                                                                     
                                                                     
                                                                     
                                                                     
                         
                         
                         
                         
                         
                                                